My mistakes are my stepping stones to success

HOW TO MAKE ALMOST ANYTHING
FAB ACADEMY 2K19 HEMANG VELLORE

header-frontend
Work frontend
Assignment 9 : Embedded Programming

Imagination will often carry us to the worlds that we never were. But without it we can go nowhere.

Task Read the Micro Controller Data Sheet

Group Assignment:


All the various programs running on the computer are executed by its Processor. Based on the AVR processor there are also the avr-gcc and avrdude as the compilation programs.


Embedded Programming:


A programming language can be used to develop and use an information system. The most popular of them are C, C++, Java, PHP and Python. The Processor is the heart of the embedded system. The knowledge of the Microcontroller and Microprocessor are a must.

The essential Units are:



Control Unit - CU and Execution Unit - EU.

For the Group assignment, the goal was to compare performance and development workflows for different architectures.

From the archive data, these are the five major Atmel Architectures that are used during the Fab Academy.

ATtiny44

ATtiny45

ATtiny84

ATtiny85

ATMega328P

Programming Tools:



RTOS, Source Code Engineering Tool, Simulator, Debugger and IDE – Integrated Development Environment.


Various Processors –

General Purpose Processors – GPP

Microprocessor

Microcontroller

Embedded Processor

Digital Signal Processor

2. Application Specific System Processor – ASSP



3. Multiprocessor System using GPPs.


Limitations - In a Medium Scale Embedded System there are a single or few 16 or 32 bit Microcontrollers or Digital Signal Processors – DSP or Reduced Instructions Set Computers – RISC. Both have Hardware and Software complexity.

Task – In the Individual Assignment, I have used Arduino IDE, so we tried Rasperry Pi. Our instructor walked us through the basic concepts. I understand that it’s a processor with ARM Processor IC and works like a PC’s CPU with some advance features like,

*can process multi task at a time

*has a simple editor

*can use python for program

*has an in built usb, ethernet, camera port for interfacing.

My team mate Manoj, took the lead in showing us the procedure as shown below –


The python code used by writing a simple code in python to blink LEDS with description.

import GPIO as g        #importing the general purpose input/output pin control library and renaming it as 'g'
import time          #importing the time library
g.setmode(g.BCM)      #setting the pin layout based on BCM rather than normal numbering
g.setup(18 , g.out)      #defining the output pin
print "led On"        #Printing the LED ON in terminal
g.output(18 , g.HIGH)     #Turning the output HIGH
time.sleep(1)        #Sleeping for 1s
print "led Off"        #Printing led off on screen
g.output(18 , g.LOW)    #Turning the output LOW


RaspberryPi Model-B Plus - Programing with Python - LED Blink with Switch-
# Python Program

import RPi.GPIO as GPIO
import time
GPIO.setmode(GPIO.BOARD) # BOARD mode is recommended to make program run on different RPi.
GPIO.setup(11,GPIO.OUT)
GPIO.setup(13,GPIO.IN)
while True :
input=GPIO.input(13)
print input
if GPIO.input(13) == 0:
GPIO.output(11,True
time.sleep(0.1)
GPIO.output(11,False)
time.sleep(0.1)



Testing Video - https://youtu.be/tJE3Evde_sQ

Push Button Program


My experience of using a different environment –
As known, an Arduino is a microcontroller motherboard 0.002MB memory. A microcontroller is a simple computer that can run one program at a time, over and over again. The Clock Speed-Arduino has 16 Mhz with an on board network and it’s very easy to use. It’s pocket friendly to use. USB-Arduino has one input only. It only provides a subset of the functionality of the Raspberry Pi.
A Raspberry Pi is a general-purpose computer, usually with a Linux operating system, and the ability to run multiple programs. I understood that the Raspberry Pi is an independent computer with a memory of 512 MB that can run an actual operating system in Linux. It is more complicated to use than an Arduino. Raspberry Pi clock speed is 700Mhz and has two inputs. So Raspberry Pi has maximum rate of execution of any operation and a little expensive to use. Well, it might sound like Raspberry Pi is superior to Arduino, Raspberry Pi it has wired Ethernet network but that's only when it comes to software applications.
I find that Arduino's simplicity makes it a much better bet for pure hardware projects.

Individual Assignment – Program Hello Echo Board
Program my PCB to perform a task with various program languages and different environment. Write the C code to my program, compile it to the avr-gcc and send it to the microcontroller with avrdude.
When my program is good, learned to understand from the board as to How to Modify and Create my own Makefile for my hello echo board. The structure of the pattern can be seen below.
Name of the file to compile
* Extension of the file to compile
* Microcontroller to program
* Frequency of the board to program


Program – Create a Circuit Code which turns on and off the LED in a pattern.

Code in Action:

We can use the serial monitor in the Arduino IDE to enter a single character and the hello echo program on your board will store the character and then echo (repeat it back) to the serial monitor. The program will store each character and repeat the series back to you each time.


Using the Arduino IDE: Download the Arduino IDE from www.arduino.cc

Step 1: Open Arduino and then enable the Serial Monitor.
The serial monitor window will open.
Make sure the "115200 baud" setting is selected.

Step 2: Type a single character into the top text entry area.
Press "send" or hit the key.
The character you type on the keyboard will be sent to the board via the serial port on your computer.
The C code on the board will echo back the character that you typed.
Type another character into the top text entry area and hit "send" or hit the key.
The characters you have typed so far are stored and echoed back along with the new character that you typed.
Keep typing characters and letting them echo back until you reach the limit.


Connecting My Board and the Programmer –
I have powered the Board and the Programmer - programmer (usbasp).
Then, I connected my Programmer to the ISP – header on the LED.
And I ran the normal Blink Program.
Changed the GPIO pin to the pin which is connected to the LED on my board.
I ran again, it worked.


Then I made a separate GPIO and Ground for the Relay Board, but there was an issue. It dint work as intended. So, I tried it on the GPIO pin of my LED and it worked. Then I soldered a wire to the GPIO pin on my LED and connected it to the Relay. Wow, it worked. Then I was able to sense the temperature. When it went below 25C it stopped, and when it went above 25C the DC Fan started working.

Testing Video - Assignment 9 Embedded Programming_files\input output devices.AVI

Structure of the Pattern – The following 4 steps will walk through the structure of the pattern of my work in this assignment.


Microcontroller and Microprocessor
Microcontroller has a CPU, in addition with a fixed amount of RAM, ROM and other peripherals all embedded on a single chip.

Microprocessor is an IC which has only the CPU inside them i.e. only the processing powers such as Intel's Pentium 1,2,3,4, core 2 duo, i3, i5 etc. ...
.

Microcontroller vs Microprocessor

I understand that,
MPU = CPU
MCU = MPU + Peripherals + Memory
Peripherals = Ports + Clock + Timers + UART/USART + ADC + DAC + LCD Drivers + Other Stuffs
Memory = Flash + SRAM + EPROM + EEPROM


Read the Data Sheet of ATTiny44
I have replaced a LED pin PA7 with a Relay.

Read Datasheet – Explanation of pins

Datasheet is a document that summarizes the performance, technical and software characteristics in enough detail that anyone can integrate the component into a system. It usually made by the component manufacturer.An electronic datasheet specifies characteristics in a formal structure that allows the information to be processed by a machine. Such machine readable descriptions can facilitate information retrieval, display, design, testing, interfacing, verification, and system discovery.
I used Attiny44 on my pcb so I read and understand it's Datasheet.
http://fab.cba.mit.edu/classes/863.09/people/ryan/week5/ATtiny44%20Data%20Sheet.pdf
This is a 229 page Data Sheet from ATMEL.
My experience of reading the Data Sheet –
I have referred the datasheet to have an understanding about the Microcontroller as I wanted to know about the operating voltage and the ADC - Analog Digital Converter which has the ability of converting the analog value to digital codes. I read parts of the datasheet to fill in extra detail that is not obvious from the Arduino functions like changing the PWM frequency produced by analogWrite() ) or to figure out how to use features that are not part of the standard Arduino functions like the analog comparator. Each section of the datasheet terminates with a description of the relevant Registers. All of those registers can be directly programmed from Arduino code - it "knows" the names of the registers for example TCCR1B - bits 0,1 and 2 of that byte select the timer clock speed and hence control the PWM frequency.
After going through the data sheet, I have a general understanding of how the micro-processors work. Let me submit that I have randomly read the pages - just not every single page. Now I can "identify" some elements in an ATMega datasheet. But understanding how they work together is more involved, especially since the components aren't "broken out" and everything is hidden on a tiny 28-pin package. For the components that I can't identify, the datasheet does a good job explaining what they are but it doesn't provide examples of their use (like the "example" problems in a calc book). I am now comforatable in identifying the discrete components - but not really enough to "understand" the function of small (5-6 discrete components + some transistors) circuit topology, especially if they involve BJTs/MOSFETs. It is impossible to use an MCU without following the rules it’s designed to function. You have to rely on the data sheet only.
Microcontroller
Microcontroller is a Digital Device that is the reason why it needs an Analog to Digital Convertor.

The ATTiny44 is high Performance, low Power 8-bit Microcontroller with advanced RISC architecture.
These are its general features:
- 4K Bytes of Flash Program Memory
- 256 Bytes of Programmable EEPROM
- 256 bytes SRAM
- 12 general purpose I/O lines
- 32 general purpose working registers and 8-channel 10-bit ADC.
- Internal calibrated oscillator
- Operating voltage supply between 1.8 ~ 5.5V.


Including 0 there are 8 Analog Input Pins in this Microcontroller. There are two kinds of Ports in ATTiny44.
Port A pins are 8-bit bi-directional I/O port with internal pull-up resistors (pin names are from PA0 to PA7)
Port B pins are 4-bit bi-directional I/O port with internal pull-up resistors (pin names are from PB0 to PB3).


This is the pin layout found in the datasheet:
1. VCC – Supply Voltage
2. PBO - Port B (PB3...PB0)
3. Port B is a 4-bit bi-directional I/O port with internal pull-up resistors (selected for each bit). The Port B output buffers have symmetrical drive characteristics with both high sink and source capability except PB3 which has the RESET capability.
To use pin PB3 as an I/O pin, instead of RESET pin, program (‘0’) RSTDISBL fuse. As inputs, Port B pins that are externally pulled low will source current if the pull-up resistors are activated. The Port B pins are tri-stated when a reset condition becomes active, even if the clock is not running.
(Port B also serves the functions of various special features of the ATtiny24A/44A and “Alternate Port Functions” can be reviewed from the data sheet.)
RESET - Reset input. A low level on this pin for longer than the minimum pulse length will generate a reset, even if the clock is not running and provided the reset pin has not been disabled. Shorter pulses are not guaranteed to generate a reset. The reset pin can also be used as a (weak) I/O pin.
4. Port A (PA7...PA0) Port A is an 8-bit bi-directional I/O port with internal pull-up resistors (selected for each bit). The Port A output buffers have symmetrical drive characteristics with both high sink and source capability. As inputs, Port A pins that are externally pulled low will source current if the pull-up resistors are activated. The Port A pins are tri-stated when a reset condition becomes active, even if the clock is not running. Port A has alternate functions as analog inputs for the ADC, analog comparator, timer/counter, SPI and pin change interrupt as described in “Alternate Port Functions”.
  GND – Ground


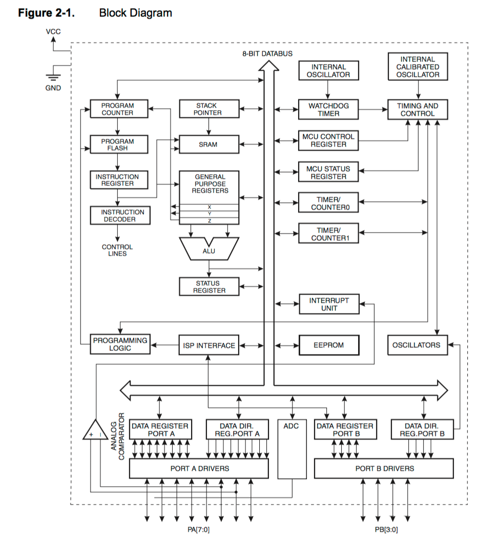
Block Diagram
ATtiny44 is a low-power CMOS 8-bit microcontroller based on the AVR enhanced RISC architecture. By executing powerful instructions in a single clock cycle, the ATtiny44 achieves throughputs approaching 1 MIPS per MHz allowing the system designed to optimize power consumption versus processing speed. The AVR core combines a rich instruction set with 32 general purpose working registers. All the 32 registers are directly connected to the Arithmetic Logic Unit (ALU), allowing two independent registers to be accessed in one single instruction executed in one clock cycle. The resulting architecture is more code efficient while achieving throughputs up to ten times faster than conventional CISC microcontrollers.


We can also see the corresponding pins in ATTiny44 to Arduino
Microcontrollers
Microcontrollers are whole computer on a chip, but it's a very little computer. It has CPU (1-20 MHz), Dynamic memory (SRAM), Non-volatile memory (Flash ROM and EEPROM)

Output
Digital output: Apply 0V or 5V to any pin.
Digital communication: UART, SPI, I2C, USB
Analog Output: Pulse-width Modulation for fake analog. (Arduino's analogWrite())


Input
Read voltage levels applied to pins
Digital input from pushbuttons and threshold sensors. Receiving digital
Analog-to-Digital Conversion
Input Modes
"Hi-Z": effectively disconnected from the circuit.
Internal pull up resistor: test if anything is connected.
The right strategy to approach microcontroller when doing multiple things at once is to offload tasks to on-board hardware so that the CPU stays free and just coordinating the tasks. That's why it is important to learn the internal hardware peripherals.


The Toolchain
Lifecycle of AVR Programming
Write code in C
Cross-compile for the chip
Transfer the code to the chip
Hardware programmer to talk to the chip.
Software to run the programmer.


Makefile
C is not a free standing language. We need a lot of stuff to compile for it. This is where Make file comes in.
It keeps track of all the particular setup
It runs all the right command line.
It links in different batches of source file.
It does compile and flash in one step.


Peripherals and their Configuration
Timers: for PWM, counting, timing, scheduling events etc. Using this well we can write an operating system.
Interrupts: Using interrupts well is what separates a good microcontroller C programmer from C programmer. It lets us run a specific routine whenever an event happens which is useful in monitoring. It pauses the running code and responds to event promptly.
Serial I/O: built-in hardware for USART, SPI, I2C available in AVR ATMega chips.


Registers
Registers ("Special function registers") are fixed memory locations with side-effects.
Read and write just like normal variable.
Each register byte is bits - comparable to 8 switches lined up.
Each switch has a side-effect, depends on which register, which bit
PORTB =0b00000010; this sets the PORTB register's value to flip the number 1 bit (Count from right to left starting from zero) which turns on PB1.


Input/Output
I/O is also a hardware peripheral.
We use special register DDR (Data direction Registers) to control the pin's data direction.
DDRB = 0b00000010 sets pin one in PORTB (PB1) into output mode and rest in Input mode.
Arduino programming vs Embedded C programming


Why C Programming?
Speed: C code runs much faster. Digital Write takes about 40 cycles in Arduino Code. C code takes one cycle.
Flexibility:strong> Make the hardware peripherals do what we want and when want them to.
Responsiveness: Using interrupt system well we can do many things at once, respond instantly
Interrupts are basically events that require immediate attention by the microcontroller. When an interrupt event occurs the microcontroller pause its current task and attend to the interrupt by executing an Interrupt Service Routine (ISR) at the end of the ISR the microcontroller returns to the task it had pause and continue its normal operations.


Portability: C is available for every CPU
Code will work on all AVRs
Similarity b/w Arduino Programming and AVR Programming
Control external devices by connecting them to AVR pins.
Communicate with desktop PC over serial.
PWM, ADC, initialization/ event loop structure.


Difference
Different toolchain to program chip.
Configure internal hardware peripherals.
Microcontroller-C programming idioms.


Programming – Steps followed in installing ATTiny library on my laptop.


Programming the board – Please Refer to Assignment 7 Electronics Design
http://fab.academany.org/2019/labs/vigyanashram/students/hemang-vellore/Assignment7/assignment%207%20(Autosaved).htm

Blinking LED code – In this program I have changed the Digital Pin number 13 to PA7.

Embedded C Program Blink One LED

#include
#include

int main(void)
{
// inits
DDRB |= (1 << PB2); // set data direction register for PB2 as output

// event loop
while (1)
{
PORTB |= (1 << PB2); // turn on led
_delay_ms(250); // delay 250 ms


PORTB = 0; // turn off led
//PORTB &= ~(1 << PB2); // turn off led
_delay_ms(250); // delay 250 ms
}
return (0);
}


Learning Outcome – I learnt that these two commands avr-gcc and avrdude lead the instruction on my make file. The datasheet plays a very important role in finding out the pins job on the microcontrollers. The programing of Microcontroller using Arduino IDE was interesting. Also understood the different Embedded Programing Architectures. Realized that soldering / loose connections, calculation of resistors and capacitors matter a lot for the smooth functioning of my PCB.

Reference – Fab Academy Tutorials

http://fabacademy.org/2018/docs/FabAcademy-Tutorials/week8_embedded_programming/makefile.html

http://fabacademy.org/2018/docs/FabAcademy-Tutorials/week8_embedded_programming/attiny_c.html

https://circuitdigest.com/article/what-is-the-difference-between-microprocessor-and-microcontroller

https://www.google.com/search?rlz=1C1CHBF_enIN815IN815&ei=SmsOXarVB8r1rQHu_LeICw&q=microcontroller+vs+microprocessor&oq=microcontroller+vs+&gs_l=psy-ab.1.0.0l10.7100285.7651687..7654945...4.0..5.464.4602.0j21j4j1j1......0....1..gws-wiz.....6..0i71j35i39j0i67j0i131j0i131i67.yMJJTODjvQw

http://fab.cba.mit.edu/classes/863.09/people/ryan/week5/ATtiny44%20Data%20Sheet.pdf

Let's Connect